Фундамент под лестницу из бетона и штучных материалов
Наиболее оптимальным решением будет крепление нижнего лестничного марша к специально сделанному основанию (фундамент лестницы).
На рисунке, показаны первые два вариантая фундамента нижнего лестничного марша.
- На рисунке слева, показан вариант устройства монолитного основания при не глубоком подполье (глубина не более 500 мм).
- Справа, мы видим основание, сделанное из монолитного бетона и кирпича. Такой вариант устройства комбинированного основания лестницы можно применить, если глубина подполья в доме более 500 мм.
Технология устройства обоих вариантов фундамента под лестницу идентична технологии устройства столбчатого фундамента.
Примечание: В случае устройства основания из штучных материалов, желательно, чтобы кладка была армированная.
Если по какой либо причине у вас нет возможности сделать такой фундамент под лестницу – мешают лаги пола, цоколь выступает от поверхности стены на расстояние большее, чем расстояние между стеной и лестницей, то в этом случае можно сделать следующее крепление нижнего лестничного марша.
Примечание: При креплении лестничного марша к цоколю и к отдельно устроенному основанию, может произойти неравномерная просадка одного из оснований относительно другому, и в этом случае мы с вами получим перекос нижнего лестничного марша, а так же крепления лестничного марша к основанию могут ослабнуть. Так что использовать такой вариант устройства основания лестницы можно только, если вообще нет других вариантов.
Крепление лестничного марша к бетонному и кирпичному фундаменту
Крепление лестничного марша к бетонному или кирпичному основанию можно осуществить, например, с помощью анкерных шпилек. Крепление с помощью анкерных шпилек можно выполнить следующим образом:
- В поверхности фундамента по нанесенной разметке сверлим четыре отверстия под каждую опорную часть нижнего лестничного марша. Диаметр отверстия зависит от диаметра анкера, к примеру, если анкер имеет? 18 мм, то отверстие делаем с помощью сверла? 18 или 19 зависит от прочности материала, из которого сделано основание.
- Когда все восемь отверстий просверлены, необходимо очистить их от пыли и мелких частиц .
- Анкера устанавливаем в отверстия до упора, желательно выполнить глубину отверстий с одинаковым размером.
- После этого выставляем каждую опору лестничного марша на место и с помощью гайки крепим ее к фундаменту. Не допускается затяжка гаек с большим усилием, так как это может привести к тому, что анкер будет вытягиваться вверх и крепление лестничного марша будет некачественным.
При установке нижнего лестничного марша на фундамент из монолитного бетона, можно использовать обычные резьбовые шпильки.
Установка таких шпилек (можно купить или сделать самому), например, осуществляется в процессе устройства основания, когда бетонная масса еще не затвердела. Для начала необходимо сделать разметку мест установки шпилек, чтобы их центр находился на одной оси Х с центром отверстий в опорной пластине (Д).
В верхние торцы стен опалубки необходимо установить крепеж для шпагата (крепеж из гвоздей, саморезов и т.п.). Рассчитав межосевое расстояние, закрепляем крепежи (В) в опалубку и натягиваем шпагат (Г), как показано на рисунке 4. Таким образом, мы с вами определим место установки шпилек (А).
На концах резьбовых шпилек, которые мы заглубим в бетон, нужно установить фиксаторы (Б). В качестве фиксаторов можно использовать, к примеру, обрезки арматуры. Фиксаторы после затвердевания бетона не позволят шпилькам проворачиваться вокруг своей оси во время затяжки гаек, а так же исключат и вертикальное смещение, то есть во время затяжки гаек шпильки не будут вытянуты из основания. Так же к концам шпилек, которые будут находиться в бетонном основании, крепят квадратную или круглую опорную пятку, которая выполняет такие же функции, что и фиксатор (Б).
Примечание: При таком способе крепления лестницы к бетонному фундаменту в опорных пластинах необходимо сделать отверстия либо большего диаметра, либо в отверстиях сделать прорези. Это необходимо для гарантированного совпадения отверстий опорной пластины лестничного марша и резьбовых шпилек, если в случае установки и затвердевания бетона последние сместились от расчетной точки.
Все эти и другие факторы могут затруднять работу по устройству основания лестницы, что еще раз подтверждает сказанное ранее в цикле статей про устройство лестницы – составлять ее проект необходимо одновременно с проектом дома. Это снимет многие вопросы, связанные с устройством лестницы еще до выполнения строительно-монтажных работ.
Особенности расчета забежных ступеней
Винтовые лестницы имеют свои особенности расчета ширины и высоты ступеней. Это связано с их клиновидной формой и необходимым «зазором» между головой человека и внутренней частью нависающей ступени.
Допустим, необходимо построить лестницу с углом поворота 360° и высотой 3 м. Если принять ширину лестницы равной 90 см, то для центральной опоры диаметром 20 см общий диаметр лестницы будет равен 2 м. Чтобы вычислить длину марша, надо учитывать, что линия движения проходит приблизительно по окружности, радиус которой равен 2/3 от общего (в данном случае 66.7 см). Таким образом длина марша будет порядка 4.19 м.
Если такую лестницу приравнять к одномаршевой, то рекомендованное количество ступеней для нее не превышает 15, что автоматически дает высоту подступенка равной 20 см. Для такой высоты по формуле безопасности вычисляем рекомендованную ширину ступени по линии движения — 23 см. Теперь надо учесть, что последнюю ступеньку надо сделать шире остальных — по образу площадки перед дверным проемом. Оставшиеся 14 ступеней умножаем на ширину (23 см) и полученный результат вычитаем из длины марша (4.19 м), так мы рассчитаем размер площадки по линии движения — 97 см. Это больше трех, но меньше ширины четырех ступенек.
Следующей идет проверка соответствия нормам по высоте. Так как при движении по лестнице первые четыре ступени будут проходить в области проекции верхней площадки, то надо учесть высоту подступенков. При высоте подступенка 20 см мы теряем около 80 см из первоначальных 300 см, но оставшиеся 220 см соответствуют рекомендованным нормам.
Если исходные данные винтовой лестницы не такие «красивые», как в приведенном примере, то подсчет количества ступеней, их ширины и высоты подступенков ведется методом подбора. В этом случае высоту этажа делят на разное количество подъёмов, чтобы максимально точно попасть в «формулу безопасности» соотношения ширины ступеней к высоте подступенка. А тот остаток по ширине, который получается при вычислениях, пускают на увеличение последней ступени. Если же высота этажа не делится с точностью до «миллиметра» на количество подъемов, то можно незначительно увеличить/уменьшить высоту первой ступени или сделать дополнительную забежную ступеньку вначале лестницы.
Простой проект деревянной лестницы своими руками:
dizlandshafta
Полезно5Бесполезно1
Какая лестница лучше?
Лестница является самым сложным объемным элементом жилого дома, обеспечивая его вертикальные связи по различным траекториям. За столетия своего существования внутри дома она развилась из тесной и крутой спирали, спрятанной в толще каменной стены, в свободно летящую в открытом пространстве легкую гофрированную ленту.
Маршевая лестница
Маршевой лестницей мы называем такую, которая либо вся состоит из одного прямого участка, либо из нескольких прямых участков с разворотами между ними. Лестница может располагаться вдоль Г-образной стены, либо в П-образном простенке, либо в замкнутом с четырех сторон квадрате. В этом плане современные лестницы ничем не отличаются от тех, про которые упоминается в том самом классическом «Справочнике», о котором Вы упомянули.
А вот современные принципы устройства лестницы как важнейшего функционально-декоративного элемента жилого дома и полноценного объекта инженерной мысли от классических могут очень сильно отличаться.
Как выбрать лестницу
Выбор лестницы, как правило, обусловлен общим архитектурно-планировочным решением жилого дома. Встречались особняки, в которых лестница была, что называется, «гвоздем» интерьера (но это случай довольно редкий).Это должна быть открытая лестница, произвольно размещаемая в двусветных помещениях.
Она хорошо просматривается с разных точек обзора и имеет парадный, точнее представительный характер. Возможно зеркальное дублирование лестничных маршей для достижения симметричности. Верхнюю площадку иногда превращают в балкон или в часть галереи верхнего этажа. В общем, чтобы устроить такую лестницу, надо иметь просто огромный дом.
Открытая пристенная лестница — вариант, когда хотя бы один марш поднимается вдоль стены. Возможно устройство неравновеликих маршей, особенно при их числе более двух.
Возможны и нестандартные решения, например, когда первый марш остается открытым и ему придается презентабельный вид (за счет увеличения ширины или тщательной отделки всех деталей и т.д.), а далее лестница становится более скромной или, если хотите, более скрытой и чисто функциональной. Под тщательной отделкой деталей мы имеем в виду, например, применение резных балясин, которые можно изготовить на станках ЧПУ.
Основой маршевой лестницы чаще всего служит цельная металлическая балка — косоур. Несущих балок может быть одна — при устройстве узких лестниц или две — при устройстве более широких. Косоур узкой лестницы может быть изготовлен не только из прямой одинарной балки, но и собран из отдельных элементов, свариваемых между собой. Выглядит такая лестница довольно необычно и очень изящно. Кроме того, применение наборного сварного косоура дает возможность изготовить лестницу необычной геометрии.
Пример расчета
Допустим, расстояние от пола до потолка в комнате составляет 275 см. При этом желаемая высота ступени – 17 см. В этом случае количество подъемов будет равно 275/17 — 1 = 16.18 — 1 = 15.18. Округляем до целого числа, получаем 15 ступеней. Находим фактическую высоту подъема 275/16 = 17.2 см.
Теперь можно определить ширину ступени. А = 63 см – 2*17,2 см = 28,6 см, округляем до 29 см. Далее нужно определить проекцию на пол. Для этого ширину ступеней просто умножаем на их количество. В результате в нашем примере получается, что первая ступень должна отстоять от стены на 15*29 = 435 см. Зная высоту и проекцию, можно определить сначала тангенс tgA = 275/435 = 0,6321, а затем сам угол наклона A = 32 градуса 18 мин. Это не выходит за рамки допустимых параметров.
Выбор лестницы для коттеджа на второй этаж
Самое распространенное заблуждение новоиспеченных домовладельцев заключается в уверенности, будто готовую лестницу можно приобрести и установить в практически законченном загородном коттедже. На самом же деле планировать лестницу необходимо на стадии проектирования будущего жилого строения. И сразу нужно определяться с местоположением лестничной конструкции и ее типом.
Главные требования, которые владелец дома должен предъявлять к лестнице — это безопасность, надежность, удобство и внешняя привлекательность. Причем надо иметь в виду: чем конструкция удобнее, тем она безопаснее.
Что же следует учитывать, выбирая лестницу для коттеджа за городом и оформляя ее? Есть несколько моментов:
- Главную (парадную) лестницу на второй этаж размещают в центре холла и делают ее максимально удобной для передвижения между этажами. Если позволяет площадь, лучше сделать конструкцию распашной.
- Меньше места занимает лестница в углу или у стены. А когда нужно с ее помощью украсить интерьер, это можно сделать, используя декоративные балясины.
- Если проем между этажами ограничен, правильнее будет установить винтовую лестничную конструкцию с центральной стойкой.
- Какая бы лестница ни была установлена, проход к ней должен быть свободным.
- Если лестницу ставят за дверью, то площадка перед ней не может быть уже ширины дверного открытия.
- Лестничная конструкция по всей ее длине должна быть достаточно освещена.
- Окна, прилегающие к лестничным маршам, следует надежно оградить. Потому что бывали случаи (и, к сожалению, не один-два), когда, споткнувшись на верхнем этаже, хозяева домов летели прямо в оконный проем.
Выбор лестницы на чердак
Отдельно следует сказать о лестницах, ведущих на чердак. Поскольку пользуются этими конструкциями нечасто, нет смысла устанавливать что-то основательное. Вполне достаточно будет приставной лестницы или складной.
Конечно, приставные варианты лестничных конструкций компактны. И все-таки они нуждаются в месте для хранения. А вот «складням» такого места не нужно — собранными они размещаются в специальном ящике, вмонтированном прямо в потолок. А для того, чтобы разложить такую лестницу, достаточно воспользоваться крюком на длинной ручке. Цепляют им запорный механизм и тянут, пока конструкция не разложится. В продвинутых же домах для этих целей используется пульт ДУ.
Складные чердачные лестницы могут быть двух- или трехсекционными, металлическими или из дерева, с утепленным люком или с неутепленными, с противоскользящими насечками на ступеньках или без таковых.
Какие параметры вычисляют при проектировании маршей
Для полного расчета лестницы исходят из существующих, исходных размеров и величин, которые следует вычислить. К исходным относят высоту помещения и высоту до 2 этажа, ширину лестницы, высоту перил. Расчетам подлежат:
- угол наклона;
- высота, ширина, толщина ;
- длина маршей;
- длина шага;
- ширина косуора;
- количество ступеней;
- количество поворотных ступеней при повороте на 90˚ или 180˚.
Основные элементы лестничной конструкции
Существуют различные типы лестниц для частного дома, для каждого из них делается свой расчет. Марши различают по материалу, несущему элементу и конструкции. В зависимости от материала изготовления лестницы бывают:
- деревянные;
- металлические;
- железо-бетонные;
- стеклянные.
Несущие элементы:
- ;
- ;
- больц.
По конструкции различают:
- винтовые;
- маршевые;
- комбинированные.
Винтовые модели удобны для ограниченного пространства. Они занимают мало места, но ими сложно пользоваться детям и людям старшего возраста. Особенность винтовых конструкций в том, что каждая следующая находится под определенным углом по отношению к нижней. Все проступи закрепляются на одной вертикальной оси. Внутренняя часть ступеней более узкая, чем наружная.
Маршевые лестничные конструкции наиболее распространены. Это прямые модели с одним и более пролетов.
Комбинированные варианты совмещают прямые марши с винтовыми поворотами. Такие модели требуют навыков в проектировании и строительстве.
Типы лестничных конструкций
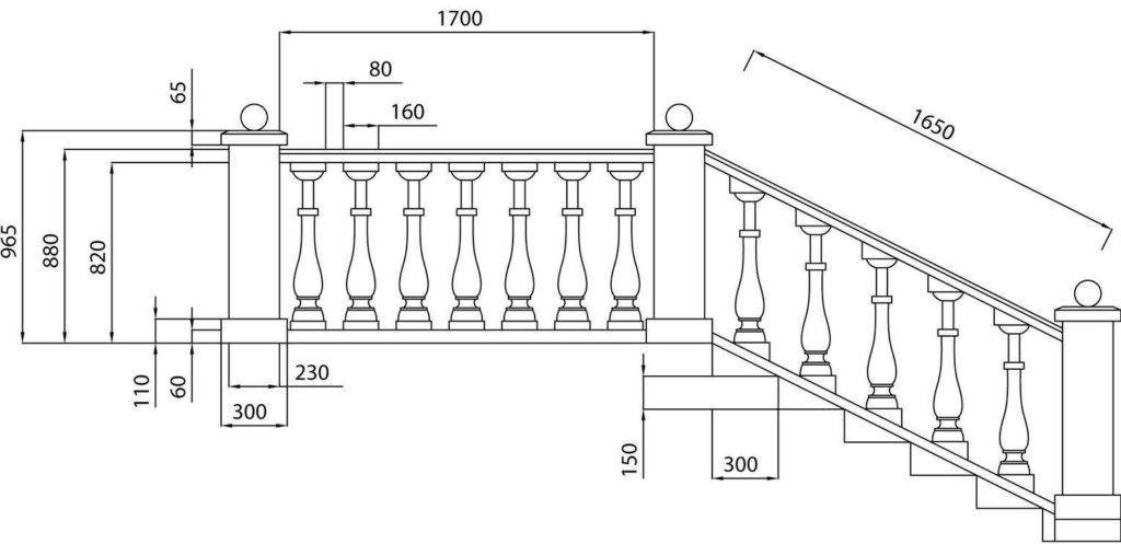
Каков стандартный размер ступеней лестницы
Стандартные размеры ступеней указаны в ГОСТ и СНиП – по этим нормативам получаются практически идеальные конструкции.
Основные стандарты, которые нужно учитывать:
- Ступени не должны отличаться по размеру, максимум – 5 мм.
- Высота ступени не должна быть ниже 15 см, но и не должна превышать 20 см.
- От двери до лестницы – не меньше метра, но при этом расстояние должно превысить ширину самой двери.
- Размеры свеса – максимум 3 см.
- Глубина проступи от 23 до 35 см.
- Самая узкая часть забежных ступеней – 10 см, широкая – 40 см, а ходовая полоса – 25 см.
Для складных лестниц рекомендуются параметры не менее 600х1000х1200, чтобы она оставалась безопасной. Если конфигурация и наличие свободного пространства позволяют, то ступеньки можно сделать намного шире. Это пригодится для того, чтобы на второй этаж можно было удобно заносить мебель или другие габаритные предметы. Есть и еще один плюс – лестница с широкими ступенями смотрится внушительно, презентабельно и дорого.
Для винтовых сходен параметры не слишком сильно отличаются. Ширина ступенек – не ниже предела в 20 см. Рядом с центральной балкой – от 10 см, а в самой широкой части – 40.
Выбор лестницы для частного дома
Красивых лестниц очень много — как выбрать свою ? Прежде всего подумайте, какие свойства лестниц для вас важнее всего. Если лестница должна быть в первую очередь компактной — рассмотрите вариант поворотной или винтовой. А если вам нужна удобная по компоновке — присмотритесь к при стенной лестнице. Наиболее комфортными считаются лестницы прямые, а наиболее безопасными — те, в которых отсутствуют забежные ступеньки.

При-стенная лестница — на повороте есть забежные ступеньки
Выбор лестницы зависит и от интенсивности ее эксплуатации. По неудобной лестнице можно подняться-спуститься пару раз в сутки, но делать это слишком часто ( например, если комнаты дневного пребывания находятся на втором этаже, а туалет на первом) вряд ли вам доставит удовольствие.
При выборе конструкции обращайте внимание на ее местоположение. Для парадной лестницы закрытые ступени будут, скорее всего, предпочтительнее открытых
Винтовая лестница будет неуместной в большом холле, так как нижние поверхности встречных частей маршей снизу (со стороны входа) могут выглядеть не слишком гармонично.

Многим известна классическая модель маршевого типа — она бьет все рекорды популярности. Нужно знать, что этот вариант конструкции «съедает» массу полезного пространства. И если загородный дом не отличается большими размерами, лучше выбрать поворотную лестницу с прямыми углами и забежными ступенями.

Помогут сэкономить место винтовые и криволинейные лестницы. Но они стоят дороже и сложные по конструкции и монтаже.

Относительно дизайна, то возможности ограничиваются лишь размером бюджета, который у вас имеется
Важно понять: хотите ли вы, чтобы оформление этой конструкции дома совпадало с общим стилем интерьера или, напротив, выделялось, как фокусный центр пространства
Определите для себя — хотите ли вы прямые ступени или округлые. Желаете ли вы, чтобы перила были выполнены из одного материала или путем комбинирования из разных фактур.

Продумайте, как будет использоваться пространство под лестницей. Возможно, внизу можно будет обустроить небольшую кладовую или стеллаж, а может быть — уютный рабочий уголок или закуток для чтения.
Выбор типа лестницы
При строительстве дома не всегда изначально определено место под будущую лестницу, особенно если дом строится без детального проекта. В таких случаях оставшаяся свободная площадь для лестницы не всегда соответствует необходимым требованиям.
В большинстве случаев вне зависимости от выделенной площади получается подобрать лестницу, которая будет отвечать всем требованиям хозяев, это может быть:

- прямая;
- поворотная на 90°;
- поворотная на 180°;
- поворотная с забежными ступенями;
- винтовая;
- изогнутая;
- приставная.
После выбора вида важно определить размеры лестницы:
- Угол наклона – данный параметр может варьироваться от 23° до 70° в зависимости от вида конструкции и места расположения.
- Ширина марша – также в зависимости от вида лестницы и ее назначения может начинаться от 50 см.
- Размер ступеней – изменчивый параметр и напрямую зависит от угла наклона лестницы.
- Перила.
После этого переходим к выбору материала. Самыми распространенными вариантами являются лестницы из дерева, металла и бетона, намного реже встречаются стеклянные лестницы.
И, соответственно, в зависимости от выбранного вида лестницы и материала определяемся с типом конструкции и ее несущими элементами.
Данные для чертежей
Чтобы приступить к разработке чертежей, необходимо собрать первичные данные, это:
- длина и ширина места, выделенного под строительство;
- высота лестницы (состоит из суммы высоты потолка и толщины перекрытия);
- размеры потолочного проема.

Требования к лестницам являются ключевым определяющим фактором того, каких размеров необходима площадь под будущее строительство. Требования к приставным лестницам намного скромнее, чем к стационарным, но все же их необходимо учитывать.

Благодаря этим данным можно будет рассчитать ключевые параметры лестницы и приступить к разработке чертежей и схем.
Как сделать чертеж?
Определив размеры лестницы на второй этаж, переходим непосредственно к созданию чертежа. Существуют определенные нормы проектирования лестниц, будем их придерживаться.
Схему необходимо делать в трех проекциях, это вид сверху, сбоку, спереди.

На чертеже обязательно укажите все размеры, тем самым вы облегчите себе задачу, когда подойдете к этапу подсчета необходимых материалов.
Чтобы не нагружать чертеж размерами и сносками, сделайте отдельно еще несколько чертежей, это может быть:
чертеж ступеней;

перил;

навеса (при необходимости).

Выполнить все расчеты и начертить схемы возможно несколькими способами:
- Самостоятельно – используя информацию, полученную выше.
- Воспользоваться строительным калькулятором на нашем сайте. Вам потребуется только выбрать тип лестницы и ввести некоторые размеры, после чего система автоматически просчитает все параметры и выдаст вам схемы с необходимыми размерами и расчетами.

- Готовые проектные решения, о которых мы говорили ранее, но велика вероятность, что они могут не подойти вам по вашим размерам.
- Самый, наверное, простой, но и самый дорогой способ — это обратиться за подготовкой проектной документации к профессионалам, которые самостоятельно начертят схемы лестницы, придерживаясь норм и правил, а также выполнят все расчеты.
Нормативные требования
Согласно СНиП, лестничное полотно состоит из 3-18 ступеней. Лучше всего, если их количество в пролете будет нечетным. Составление проекта по ГОСТу осуществляется с учетом высоты и ширины полотна, которые выбираются согласно углу наклона марша. По этому нормативному документу при наклоне в 45° минимальная крутизна должна быть 1:2 и максимум 1:1.
Лестницы рекомендуется сооружать не слишком крутые, поскольку их эксплуатация может доставлять неудобства как для людей в возрасте, так и для детей.
Также стоит учитывать промежуток между полом и потолком: минимальное значение – 2 м. Важные составляющие в рассматриваемой конструкции — ограждения и перила.

Отделка бетонной лестницы
Сама по себе бетонная поверхность красотой не отличается, даже если ее отшлифовать. Обустроить лестницу в коттедже можно самостоятельно. Самый дешёвый вариант – покрасить ступени. Сейчас строительные супермаркеты предлагают массу современных отделочных материалов – плитку из мрамора, керамики либо гранита, линолеум, ковролин, ламинат. Но чаще всего хозяева стремятся использовать для отделки древесину. Деревянные ступени придают интерьеру уют, благородство, благотворно влияют на микроклимат помещения. Древесина хорошо поддается обработке, незначительно утяжеляет конструкцию лестницы. Древесный материал имеет красивую и разнообразную текстуру, даёт возможность гармонично соединить лестницу с любым интерьером. Для отделки ступеней понадобится прочная древесина, а для перил, балясин и прочих декоративных элементов подойдёт мягкая древесина, стоимость которой значительно ниже.
Каждый материал имеет свои достоинства и недостатки, необходимо правильно определить приоритеты.
Материалы лестниц
Несущие конструкции лестниц делают из дерева, металла, стекла и бетона. В качестве отделочных материалов используют керамику, камень и мозаику. При отделке ступеней учитывают, что они должны противостоять истиранию. Если ступени облицованы скользким материалом, наносят шероховатые полосы на плоскости проступей или стелют ковровое покрытие. Ограждение и облицовку лестниц согласуют с дизайном интерьера. Наиболее популярны деревянные лестницы: они подходят для интерьеров любого стиля, а сталь и стекло — атрибуты современной обстановки.
Деревянные лестницы особенно востребованы в частных домах, отличаются разнообразием, прочны, экологичны и красивы. Для конструкции используют массив дерева или клееную древесину
Деревянные лестницы традиционно украшают резными балясинами и перилами, а также деревянными скульптурами. Конструкцию из любого материала делают эффектной кованые перила и ограждения, а также стеклянные элементы. Для дизайна лестницы важна входная площадка с несколькими начальными ступенями. Она может быть овальной, с необычно оформленными перилами.
Стеклянные лестницы делают из триплекса (нескольких слоев закаленного, стекла), для не сущей конструкции используют металл. Лестницы из стекла могут иметь сложную пространственную конфигурацию и эффектны. Ограждения делают из триплекса, стали, латуни
Металлические лестницы делают из металлических профилей, труб, арматурной стали и стальных листов. Они позволяют придать конструкции любую конфигурацию.
Бетонная лестница может быть сборной или монолитной. Бетон позволяет создавать представительные лестницы сложных, пластичных, изогнутых форм. Поверхность лестницы облицовывают камнем, мозаикой, керамикой. Ограждения делают из камня, кованого металла, стали, реже — из дерева
Задействование свободного пространства
Любая лестница в интерьере выглядит респектабельно, но что делать с местом под ней? Попытаться задействовать свободную зону по максимуму:
- организовать шкаф для обуви, различных мелочей или книг;
- соорудить санузел или маленькую кухню;
- реализовать мечту о релакс-уголке, поставив диван;

- сделать рабочий кабинет;
- обустроить винный погреб со стеклянными дверками;
- организовать кладовую или комнату для игры.
Стильная лестница в жилом помещении имеет безграничные возможности. При наличии соответствующих навыков можно изготовить конструкцию любой формы и стиля. Не хотите или не умеете возиться – приобретайте модульные изделия.

Высота конструкции

Данный параметр найти довольно легко. В данном случае не нужно подбирать лучший размер, так как он зависит от высоты между полом и потолком, другими словами, высоты этажа. Однако обязательно нужно учитывать еще и толщину перекрытия.
Стандартный размер перекрытия зачастую составляет 30 см, а высота потолков именно в частном доме может быть любой. Обычно это 250 см. Если взять за основу данный параметр, то высота лестницы будет составлять около 280 см.
Также важно учитывать расстояние, которое впоследствии будет между ступенями и потолком помещения. Чтобы пользоваться лестницей было удобно людям любого роста, данное расстояние должно быть не менее 195 см
Где расположить лестницу в доме. Подведем итоги
Таким образом, чтобы обеспечить комфортное проживание и безопасное пользование лестницей, к каждому этапу ее создания необходимо подходить с особой ответственностью.
Чтобы понять, как лучше расположить деревянную или металлическую конструкцию на второй этаж и использовать пространство под ней, следует разобраться, какие сооружения существуют в принципе.
Лестница в квартире или доме различается по своей конфигурации достаточно сильно. И в зависимости от общей площади помещения выбирают ту или иную конструкцию на второй этаж.
Самым простым вариантом считается деревянная прямая одномаршевая лестница с удобными ступенями, которые осуществляют подъем на второй этаж без неудобных поворотов. Такая конструкция отличается большими габаритами, но и большой безопасностью.
Вариант такой лестничной конструкции считается также самым простым для создания ее своими руками. Самым главным и очевидным минусом является ее громоздкость. Однако чтобы сэкономить место в доме и не утяжелять интерьер, применяют различные модификации сооружения. Она может иметь поворот. Прекрасно экономит пространство дома вариант лестничной конструкции на второй этаж с поворотом в 90 градусов. Он также может быть выполнен под углом в 180 градусов. Единственный нюанс, который стоит учитывать, что в данном случае конструкцию придется оснащать забежными ступенями, а это немного усложнит создание лестницы своими руками.
Где и как расположить лестницы на второй этаж, зависит и от ее элементов. Обычно конструкция имеет ступени, каркас и перила. Каркасы могут отличаться в зависимости от конструкции лестниц и материала их изготовления. Их выполняют в виде косоуров, тетивы или опорного столба, если это винтовые лестницы.
Каркас в виде косоуров – это две балки в виде лесенки, на которые устанавливают ступени. Они также могут быть прямыми, и в этом случае ступени фиксирует к ним при помощи кобылок. Косоуры в виде лесенки, пожалуй, являются самым распространенным вариантом при создании деревянной конструкции лестниц. Такие каркасы наиболее эргономичны, поэтому если вы желаете расположить лестницу маршевую, то использовать в конструкции нужно именно их
Однако важно иметь в виду, что они менее прочные, чем, например, тетивы или же косоуры с кобылками. Для больших лестниц они не годятся
Более компактная конструкция получится при создании лестничного марша на одном центральном косоуре. Обычно его делают из металла. Планировка пролетов:
Помимо косоуров существует другой вариант крепления ступеней – тетивы. Данный каркас представляет собой две балки, обычно из дерева, в которые ступени вставляются в специально проделанные пазы. Лестницы на второй этаж на тетивах забирают чуть больше места, чем на косоурах.
Если пространства в доме мало, то хорошим вариантом станут винтовые лестницы. Их сооружения оснащены забежными ступенями, ведущими в комнаты второго этажа по заранее рассчитанному радиусу. Создать ее своими руками достаточно сложно, так как требуется серьезный и сложный расчет лестницы в доме. Но именно такой вариант предпочтительнее расположить в доме с небольшой площадью. Винтовые лестницы обладают еще одним преимуществом перед вариантами прямого лестничного марша: они очень красиво смотрятся и способны стать настоящим украшением жилой площади. В качестве каркаса служит опорный столб с зафиксированными на нем забежными ступенями. Идеи, как спланировать расположение пролетов:
Лестница на больцах представляет собой удачное сочетание положительных качеств лестничного марша прямого и винтового. Данная конструкция является маршевым вариантом, ступени которого крепятся на больца. Обычно она не имеет каркаса или снабжены им только с одной стороны.




































