Тележка для грузов НТ 1310 – незаменимое устройство в быту
Тележка грузоподъемная марки НТ 1310 была создана специально для облегчения перемещения крупных и тяжелых предметов, как по ровной поверхности, так и по ступеням лестничных пролетов. Сегодня это устройство по достоинству оценили и молоды и пожилые люди.

Такую тележку в народе называют “шагающей” за ее способность легко преодолевать ступеньки любой лестницы

Данное устройство является поистине многофункциональным – на него легко грузить габаритные вещи, а затем транспортировать их на нужное расстояние
Главной особенностью этого приспособления является то, что оно имеет сразу шесть колес и может с легкостью передвигаться по лестнице, транспортируя на любой этаж всевозможные грузы.
Рассмотрим подробнее назначение и технические особенности этого многофункционального изобретения.

Несмотря на свою многофункциональность, тележка данного типа имеет довольно простое конструкторское строение, что позволяет ее изготовить даже в домашних условиях
Основные функции подъемного приспособления НТ 1310
Шагающая тележка универсальная модели НТ 1310 предназначена для выполнения сразу нескольких задач:


Тележка эффективна не только при транспортировке грузов, но также она окажет помощь пожилым людям, избавив их от поднятия тяжестей на этаж
Устройство для подъема грузов НТ 1310– особенности конструкции
Перед тем, как приобрести либо сделать собственноручно данное приспособление для своих нужд, будет полезно ознакомиться с его основными конструкторскими особенностями.

Приспособление для транспортировки грузов модификации НТ 1310 имеет несложную конструкцию и может быть легко смонтировано самостоятельно
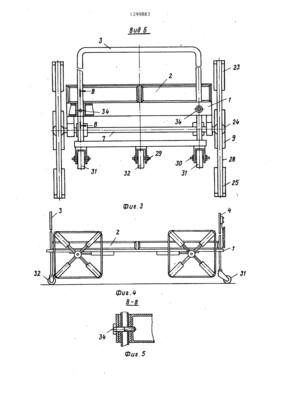
Итак, тележка НТ 1310 для подъема и перевозки грузов состоит из таких элементов (смотрите фото ниже):

На этом фото представлен подробный технический чертеж модели НТ 1310, который, безусловно, поможет вам в работе

Шагающая тележка преодолеет любое препятствия и доставит по назначению даже самый тяжелый груз
Место для обустройства лифта

Угол — лучшее место для установки подъемника Готовый подъемник должен обеспечивать комфортные условия для эксплуатации. Конструкция должна помогать, а не мешать хозяйственной деятельности.
В первую очередь нужно предусмотреть вопросы обеспечения и сохранения прочности несущих конструкций строения. Общий вес лифта вместе с грузом может достигать тонны, а это большая нагрузка на пол и стены погреба. Лучшим вариантом считается монолитный короб из железобетона, где все составные части обладают достаточным запасом прочности, а дополнительный вес равномерно распределяется по плите. Минимальным считается толщина плиты 10 см. Если этот показатель меньше, то потребуется провести усиление основания.
Есть такие варианты:
- Сделать внешний подкоп под фундаментом. Уложить в него несколько больших камней и залить их цементным раствором.
- Пробурить в плите четыре отверстия, сверху сделать расширение. Заполнить скважины арматурой и залить их бетоном.
- Обустроить поверх существующего основания дополнительную стяжку толщиной 5-10 см.
- На стенах закрепить и зашпаклевать решетку из арматуры. Другим способом является прикручивание анкерными болтами двух железобетонных столбиков.
Лучшим местом для установки лифта является угол погреба. Там пол крепче и для крепления направляющих есть две стены.
Какими характеристиками должен обладать гаражный подъёмник
В гаражных условиях используются два типа подъёмных механизма. К первому типу относят подъёмник, способный поднять автомобиль целиком, а ко второму относят подъёмник типа гусь, позволяющий перемещать грузы по гаражу.
Подъёмники первого типа являются стационарными устройствами и главное требование, которое предъявляется к ним – устойчивость. Автомобиль весит более тонны и не должен иметь ни малейшего шанса на падение. Для того чтобы исключить какие-либо несчастные случаи, гаражный подъёмник должен иметь надёжный стопор.
Самодельный кран гусь
Наиболее часто в автомастерских используют подъёмники типа «гусь». Его достаточно просто изготовить из профильной трубы или швеллера. Сначала варится основание, на которое нужно установить поворотный механизм. Стрелу лучше всего изготовить с регулируемым вылетом. Так появится возможность перемещать тяжести в любом направлении.
Тележка НТ 1310 – делаем своими руками
Изготовить приспособление НТ 1310 своими силами не так уж сложно. Главное приложить немного старания, усердия и сил – и удобное и полезной устройство станет вам помощником во многих бытовых ситуациях.

Перед изготовлением конструкции вы можете детально изучить эскизы к ней, хотя для простых моделей это и не обязательно
Перед тем, как приступить к работе, следует подготовить необходимые инструменты и материал для изготовления.

Шагающее устройство способно легко перемещать грузы по любой плоскости, а также поднимать их по лестничным ступеням
Что понадобится для работы
Для того, чтобы своими руками сделать данное устройство, вам понадобятся такие инструменты:
- электросварочный аппарат;
- молоток;
- рулетка;
- тиски;
- трубогибочный инструмент (смотрите фото).

Самым лучшим приспособлением для загиба стальных труб является вот такой специальный станок с электрическим приводом
Материал для монтажа необходим такой:


Металлическую площадку можно изготовить из любого стального профиля нужных размеров
Инструкция по монтажу
Изготовление тележки своими руками требует определенных навыков в работе со сварочным аппаратом. Сам процесс монтажа лучше производить, руководствуясь такой пошаговой инструкцией:

Теперь изделие осталось только покрасить и наша универсальная конструкция готова к эксплуатации. Если у вас нет времени, нужных навыков либо желания делать устройство собственноручно, вы всегда сможете заказать модель НТ 1310 в специализированном магазине.

Такую тележку можно приобрести в специализированном магазине, стоит изделие недорого, а польза от него неоценима
Упрощение сборки устройства
В домашних условиях можно использовать подручные материалы и готовые передаточные узлы. Например, трещетка, используемая в автомобиле КАМАЗ для выравнивания тормозного усилия — это готовый червячный передаточный механизм.
Сочетая блоковые механизмы с барабанными лебедками, можно работать, компенсировав недостатки каждого вида подъемников. Например, в полиспастах не предусматривают фиксатор, исключающий обратное движение тали, а барабанные лебеди устраняют это очень просто. Зато угол между вектором подъемной силы и вектором веса у полиспаста может быть практически любым, чем не могут похвастать лебедки.
Можно использовать в хозяйстве покупные подъемники, но, как правило, лебедки нужны там, где магазины далеко — и всегда срочно. Стоит поискать в гараже какие-нибудь детали для выхода из ситуации.
Простые приспособления на стройке
На любой стройке не обойтись без эффективных и простых приспособлений для облегчения труда и повышения скорости и качества возводимого объекта. Сегодня в этой статье я расскажу о некоторых из них, наиболее простых и эффективных.
Самый простой способ подъема по направляющим, для него достаточно двух веревок и закрепленных направляющих.
Этот способ прост, но есть свои хитрости и трудности, тянуть нужно одновременно и направляющие должны быть надежно закреплены.
Это очень простое приспособление, но и оно облегчает труд, поскольку усилие прилагается вниз, а это всегда легче чем просто тянуть за веревку.
Подъемник в виде колодезного журавля, отлично сокращает время на подъем грузов. Единственный минус в том. что поднимать тяжелые грузы с помощью такого приспособления очень трудно.
Но поднимать груз намного легче, чем без противовеса.
Виды закреплений полиспастов.
С помощью полиспастов можно облегчить себе труд в несколько раз. Все зависит от способа его закрепления.
Если применить закрепление под номером 1, то усилие будет равно весу поднимаемого груза;
2- в два раза меньше чем в первом случае;
3 – в три раза меньше;
4 – в четыре раза меньше, чем в первом случае.
С помощью полиспаста можно поднять груз, не прилагая больших усилий для этого.
На рисунке показаны виды и способы крепления простых подъемников с полиспастами. Подъемные механизмы делают поворотными и простыми не поворачивающимися.
Для облегчения подъема делают электропривод и монтируют кран-балки. Такие механизмы вполне заменяют автокран.
Это конечно только малая часть от всех приспособлений и в одной статье обо всех не расскажешь. Так, что ждите продолжения.
Техника безопасности
Во время выполнения такелажа используются стропы, при помощи которых груз крепится к подъемному механизму. Перед тем, как накидать стропы, нужно определить вес груза. В большинстве своем этот показатель обозначен в паспорте — металлическая табличка, прикрепленная к одной из сторон объекта; или в сопроводительных документах. Если груз упакован, то такие данные пишутся прямо на материале упаковки или обшивке ящика.
При подъеме и перемещении грузов строго придерживаются таких правил:
Если к грузу прилагается паспорт или сопроводительная документация, то строповка выполняется в точном соответствии с рекомендациями изготовителя
Крепление строп выполняется исключительно за проушины при помощи специальных крюков, которые предусмотрены на такелажной оснастке
При строповке важно добиться полного равновесия и устойчивости груза. Оборудование и дополнительные механизмы, скомпонованные на общей раме, поднимаются вместе после того, как будут закреплены стропы на общей платформе
Листовые материалы, скомбинированные в пакеты, поднимаются специальными подхватами, которые крепятся к траверсе. Для строповки длинномерной продукции — уголков, профиля и прочих — применяются специальные универсальные приспособления. На острые углы под стропы устанавливаются подкладки.
Принципы работы различных лифтовых систем
Лифтовые подъёмники подразделяются на следующие основные виды:
1) Электрический
(электромеханический). 2)Гидравлический . 3)Пневматический (аэролифт).

Направляющие лифта своими руками
Для движения лифта требуется некое силовое устройство, наиболее удобным и практичным питанием которого будет электричество. Поэтому электродвигатели входят в состав привода, независимо от его вида. Однако электрическими принято называть лифты наиболее распространенной, тросовой системы, вероятно, потому, что у них усилие двигателя непосредственно передаётся тросам, перемещающим кабину.
1. Электрический лифт
, которым мы пользуемся в многоэтажных домах, работает по принципу противовеса: кабина закреплена на тросах, на других концах которых закреплён груз-противовес. Приводной механизм, расположенный в верхней части лифта (машинное отделение), получив электрический сигнал от кнопок панели, через шкив-колесо приводит систему в движении. Благодаря противовесу инерция кабины сводится к минимуму, что обеспечивает плавность движения и позволяет обойтись электродвигателем значительно меньшей мощности.
2. Гидравлический лифт
работает по принципу домкрата. Электродвигатель создаёт давление жидкости в системе, гидроцилиндр толкает кабину вверх. На спуске электричество не потребляется. Этот вид лифтов не имеет противовесов и отличается бесшумностью. Но из-за высокого давления в гидравлической системе требует квалифицированного обслуживания и мощной силовой установки.
3.
Кабинапневматического лифта работает как поршень. Для движения лифта вверх в аэрошахте над кабиной мощными вентиляторами создаётся разрежение воздуха. В результате повышенное давление под кабиной толкает её вверх. Для спуска давление сверху и снизу кабины выравнивается, и она плавно опускается вниз.
Пневматический лифт своими руками
Теперь зададим себе вопрос: как сделать лифт своими руками в доме, посильно ли это для рук и для кошелька?
Для пневматического лифта необходимы комплектующие, которые практически невозможно сделать своими руками. Если покупать готовые или заказывать их изготовление, теряется сама идея изготовления лифта своими руками. Да и окончательная стоимость округлится до такой цифры, что приобретение и монтаж готового аэролифта обойдется дешевле.
Рекомендую: Встраиваемые, точечные светильники в ванной, туалете, как установить своими руками
Гидравлический лифт своими руками
Теперь – гидравлика
. Увы, не менее сложно и дорого. Потребуется высокопроизводительная гидравлическая насосная станция, а стоит она недешево. Ну, а главное – гидроцилиндр. Даже для поднятия кабины лифта на один этаж требуется значительное выдвижение штоков. Подобные блоки имеются у автомобилей-самосвалов но, даже решив установить такой гидроцилиндр, мы столкнёмся с другой проблемой — опускание кабины. Гидроцилиндры автомобильного типа складываются под весом тяжёлой грузовой платформы самосвала. Веса кабины лифта тут будет недостаточно. Комбинирование из различных других готовых механизмов будет не менее сложно и дорого.
Решение вопроса, как самому сделать лифт очевидно: делать лифт электромеханический
Как поднимать тяжелые предметы наверх и опускать вниз
Если нет возможности оборудовать систему шкивов, но есть ручная тележка, есть безопасный вариант перемещения тяжелых предметов.
Как разместить груз на тележке:
- Сдвиньте нижнюю сторону тележки под перемещаемый предмет.
- Надежно пристегните груз к боковой стороне ручной тележки и проверьте, хорошо ли он стабилизирован.
- Наклоните ручную тележку и уравновесьте вес на колесах.
- Поднимаясь наверх, идите задом наперед.
- Идите вперед, когда спускаетесь вниз.
Как переместить груз с ручной тележки на борт машины:
- Поднимая вещь с тележки, держите ноги на расстоянии не менее 50 см. Чем ближе они друг к другу, тем труднее сохранять равновесие.
- Присядьте на корточки, чтобы дотянуться до объекта внизу. Держите спину прямо, выпячивая грудь вперед. Согните колени, но не вытягивайте их слишком вперед.
- Крепко ухватитесь за тяжелый предмет, не прилагая чрезмерного усилия, иначе он может выскользнуть.
- Держите спину прямо, глядя вперед, а не вниз.
- Держите локти как можно ближе к телу
- Не выворачивайте поясницу при подъеме предмета.
- Отталкивайтесь ногами, сохраняя руки прямыми, только слегка согните их в локтях.
- Не сгибайте спину, держите грудь поднятой во время подъема.
- Постоянно держите тяжелый предмет как можно ближе к телу.
- Двигайтесь медленно, не сгибаясь назад. Если вес тяжелее, это может привести к тому, что вы упадете назад.
Приспособление для подъема тяжестей типа лебедки или полиспаста: как изготовить своими руками п
Вес предметов бывает таким, что одному, а то и впятером, сдвинуть их с места вручную не получается, а надо. В таких случаях пригодится самодельное приспособление для подъема тяжестей или их перемещения. Ручная лебедка — самое востребованное устройство в таком деле.
Для гаража ручную лебёдку своими руками сделать совсем нетрудно даже в домашних условиях. Но сначала нужен расчет и чертеж механизма.
Разновидности удерживающих механизмов
Для того чтобы транспортируемая деталь крепко держалась на подъемнике, существует несколько типов удерживающих устройств:
- Канатные стропы.
- Специальные захваты.
- Траверсы.
- Строповые устройства с дистанционным управлением.
Сама по себе стропа представляет из себя съемное приспособление для подъема тяжестей, по внешнему облику напоминающее отрезок стального каната с несколькими крепежными элементами на обоих концах. Это могут быть кольца, крюки, карабины или же канатная петля.
Как сделать полезные механизмы и инструменты для стройки своими руками
Неважно – строите вы дом своей мечты или перестаиваете старенький дачный домик, вам не обойтись без надежных инструментов и строительного оборудования. Практически любое приспособление сегодня можно купить в магазине, но не всегда покупки радуют качеством и еще реже – ценами
Практически любое приспособление сегодня можно купить в магазине, но не всегда покупки радуют качеством и еще реже – ценами.
Наши форумчане знают, как снизить нагрузку на семейный бюджет и предлагают рецепты проверенных механизмов и инструментов для стройки, сделанные своими руками.
Ручные барабанные лебедки
Принцип работы лебедок напоминает простейший рычаг, закрепленный в точке опоры.
Если короткое плечо рычага будет поверхностью цилиндра, а груз будет прикреплен к нему тросом, получится лебедка с передаточным числом, равным соотношению длины рычага и радиуса цилиндра.
Для исключения обратного вращения на ось ставят храповый механизм с подпружиненной собачкой — трещотка. Собрать такую ручную лебедку своими руками можно по чертежу:
Однако, для большого передаточного числа системы потребуется очень длинная рукоять, а это неудобно. Выход найден в двух разновидностях барабанных лебедок, увеличивающих передаточное число при помощи шестеренок или червячной передачи.
Трещотка в такой конструкции не нужна, передаточное число, когда гребень червяка проходит по каждому зубу шестерни, равно количеству зубьев шестерни, умноженному на соотношение длины рукояти к радиусу червяка. Но существенным недостатком будет трение между зубцами и гребнем. Требуется постоянная смазка механизма.
С гораздо меньшим трением работает редуктор из шестеренок. При использовании принципа передачи силы парой шестеренок разного диаметра ручную барабанную лебедку своими руками проще всего сделать так:
Обратите внимание, что стопор в таких устройствах необходим. Такая конструкция применяется при небольшой высоте или длине перемещения груза
Увеличить расстояние перемещения поможет тросоукладчик, равномерно распределяющий трос по длине цилиндра. Проще всего результат получить, применяя подпружиненную пластину или стержень, прижимающие трос к барабану:
Грузовик…из старой четверки
Привезти песок, щебень, доски, транспортировать бетономешалку и старый холодильник…Необходимость доставить материалы и инструменты во время стройки возникает постоянно. Участник FORUMHOUSE g8o8r8
нашел способ, как сэкономить на грузоперевозках: он переделал в грузовик свою старую четверку!
Мобильный станок для резки пенопласта
А тем, кто утепляет дом пенопластом, придется кстати другая форумчанская самоделка– станок для резки пенопласта, позволяющий отрезать куски необходимого размера просто и быстро, не мучаясь с ножовкой и линейкой.
Пользователь нашего форума ОлегЛьвович для изготовления мобильного станка использовал деревянную рейку 25×25 мм длинной 1,3 метра, нихромовую проволоку сечением 1 мм, пружину, две стальных полосы 20×4 мм, трансформатор 220/36В и провод 15-20 метров.
На FORUMHOUSE форумчанин делитсясхемой устройства самодельного станка:
В отличие от стационарных станков для резки, данное устройство можно свободно перемещать по лесам, и резать пенопласт прямо на месте. При этом, лист можно распустить не только по длине, но и по толщине – для этого к ППС гвоздями дополнительно крепят два профиля. По словам форумчанина, себестоимость мобильного станка составляет 800-1000 рублей, и даже при интенсивной эксплуатации он будет верой и правдой служить несколько строительных сезонов подряд.
Другие примеры станков для резки пенопласта, в том числе, стационарных – в этой теме.
Подъемники
- Самым распространенным прибором для подъема тяжестей в промышленности и строительстве являются подъемники. Визуально приспособление представляет собой некий механизм на колесиках, с платформой для укладки груза и удерживающими элементами. Устройства для фиксации груза могут быть несколько видов.
- Канатные стропы. Один из самых удобных механизмов для перемещения и подъема грузов. Они имеют несколько ветвей, специальные кольца и петли для захвата груза, устойчивы к большому весу.
- Траверсы. Металлическая конструкция в виде балки или рамы. Подъем груза может осуществляться за центр или края. При помощи траверс удобно перемещать тяжелые трубы.
- Специальные захваты. Подразделяются на несколько видов, могут быть торцовые, штыревые, коромысловые, магнитные, вилочные, клещевые. Перечень различных видов растет по мере появления новых разработок.
- Стропы с дистанционным управлением. Механизм отличается автоматической зацепкой и отцепкой крюков. В простых устройствах данного вида крюк поворачивается с помощью рычага. Обычно механизм применяется при строительстве крупнопанельных зданий.
В подъемниках обязательно задействуется механизм торможения, жизненно важный в деле строительства, когда необходимо груз доставить в строго определенное место, периодически выравнивая траекторию его движения.
Где заказать услугу?
Наша компания осуществляет поднятие груза с помощью подвижного блока при участии промышленных альпинистов. Мы ответственно относимся к поставленным задачам, поэтому все мероприятия осуществляются с тщательным соблюдением всех норм, требований, а также техники безопасности. Используется профессиональное шведское грузоподъемное оборудование поэтому мы гарантируем качественное выполнение мероприятий любого уровня сложности. Итоговая стоимость определяется после осмотра вашего объекта нашим специалистом. Порядок стоимости вы можете посмотреть на сайте или связавшись с нашим менеджером по телефону.
Принцип работы полиспастов
Проще этого устройства для перемещения тяжелых предметов есть только металлический лом. Главный элемент – колесо с фаской по середине внешней поверхности, ось которого закреплена на потолочной балке. Через него можно перекинуть таль, и подъемник с передаточным числом 1 к 1 готов. Для увеличения рычага пропустим таль еще через одно незакрепленное колесо, ось которого соединена с грузом, а таль закрепим наверху конструкции.
Передаточный коэффициент станет равен 2. Теперь прикрепим к потолку еще одно колесо, а конец тали пропустим через него, закрепив на оси нижнего колеса. Передаточный коэффициент станет равным 3. И так далее, добавляя по одному колесу и меняя место крепления тали, можно увеличивать передаточное значение.
Расположение колес относительно друг друга может быть разным.
Наиболее компактны конструкции с одноосным расположением колес. В конструкции таких устройств две обоймы колес. Изучив чертежи полиспаста, своими руками собрать его не составит труда. Потребуются две обоймы:
- траверса;
- скоба для переноски;
- щека для монтажа деталей;
- колесо (блок);
- упор;
- подшипник;
- втулка;
- ось;
- держатель оси;
- масленка для подшипников;
- ограничитель тали;
- гайка;
- подшипник;
- щека.
Конец тали закрепляется на одной из обойм.
Есть у полиспастов и недостатки. Для увеличения передаточного числа на 1 нужно каждый раз добавлять одно колесо, в результате растет вес механизма. Кроме того, для сгибания троса на каждом колесе тратится сила, снижая КПД устройства. Можно снизить эти потери, увеличив диаметр колес, но одновременно произойдет увеличение веса и габаритов полиспаста. Этих недостатков нет у другого вида подъемников.
Как же поднять груз на высоту быстро и безопасно?
Для этого могут использоваться различные методы: с помощью кранов, автовышек, с использованием лебедочного механизма на крыше. Но метод промышленного альпинизма имеет ряд преимуществ:
Для такого дела, как подъем груза на высоту, на этаж, через окно нет равных вариантов, чем с помощью альпинистов.
Наши альпинисты в кратчайшие сроки смогут осуществить подъем или спуск ценного для вас груза.
Мы поднимаем грузы используя альпинистское снаряжение и опыт подъема грузов строителей прошлого. Все оборудование сертифицировано и рассчитано на подъем грузов до нескольких тонн
При этом подъем осуществляется с использованием всех мер предосторожности, с соблюдением техники безопасности
Что можно поднять через окно:
- Подъём мебели. Мы можем поднять столешницу, диван, шкафы, стол и др.
- Подъём окон и дверей. Поднять стеклопакет, раму, стёкло, крупногабаритные двери.
- Поднятие ванны и джакузи в окно на любой этаж.
- Мы можем поднять и завести в окно кондиционер, бытовую технику, сейф и др.
Мы можем поднять любой груз весом до 500 кг. Если вес груза превышает 500 кг, имеются некоторые ограничения. Цена на подъём груза на этаж через окно, зависит от ряда факторов. К ним относится:
- Вес и форма поднимаемого объекта.
- Высота, на которую будет подниматься предмет.
- Траектория подъёма груза, например, каскады на фасаде здания.
- Наличие выступающих конструкций: козырьков, кондиционеров, антенн.
Для того чтобы осуществить подъем вашего груза вам необходимо связаться с нами. Затем на объект приедет наш специалист, который оценит стоимость работ, траекторию подъема, согласует все детали работы с заказчиком.
Общие рекомендации заказчику перед тем, как поднять груз на высоту:
- Заранее договоритесь с нами. На место бесплатно выедет наш альпинист, чтобы оценить предмет, траекторию подъёма груза и стоимость подъема.
- Проверьте – влезает ли ваш груз по размерам в окно или балкон. Если надо, перед тем, как мы начнём поднимать груз по стене, разберите перегородки окна, решетку и другие препятствия на пути.
- Для того, чтобы завесить снаряжение, нам необходим доступ на крышу или на верхние балконы. Договоритесь о ключах заранее!
- Подъем груза через окно на высокий этаж возможен в светлое время суток при отсутствии сильного ветра и осадков.
- Нужно заранее позаботиться о том, чтобы внизу под местом поднятия груза территория была очищена от пешеходов и транспорта, и заранее была ограждена оградительной красной лентой.
Итак…Как мы делаем это? Как мы поднимаем груз на этаж? Как удаётся 2-4 альпинистам без особых усилий поднять груз массой до 500 кг?
А на следующей схеме приведена примерная технология подъёма негабаритных тяжёлых грузов. Данная система многократно проверена на опыте наших и западных альпинистов, и позволяет быстро, а главное безопасно осуществлять подъём достаточно крупных и тяжёлых предметов на высоту.
Основные элементы при подъёме груза на высоту, на этаж:
- Подъёмная верёвка (красная на схеме) — она то и тянет груз наверх.
- Направляющая верёвка или оттяжка (синяя на схеме) — ещё один альпинист оттягивает груз от фасада.
- Устройство, надёжно фиксирующее верёвку, но в то же время позволяющее легко ослаблять и натягивать её (находится в точке, на земле, под контролем альпинистов, выполняющих подъём).
- Система блоков — обеспечивает выигрыш в силе, позволяя поднимать грузы большой массы.
Во всех элементах системы используются самые современные, надёжные и безопасные образцы снаряжения и оборудования западных производителей, на которые имеются международные сертификаты качества и тестирования. Тем не менее, для достижения полной уверенности в сохранности груза каждый элемент системы дублируется!
Этапы работы при подъёма груза на высоту
Приведённая выше схема общая и может быть изменена, исходя из конкретных условий работы, могут быть добавлены или заменены некоторые элементы
Надо уделять особое внимание при поднятии груза на высоту следующим моментам:
Обращайтесь к нам и уже в ближайшее время Ваш диван или ванна займет свое место в Вашей квартире.
Ниже указана ориентировочная цена на услугу «поднять груз на высоту.»
Стоимость работы, грн
Если Вам нужно поднять груз на высоту, на высокий этаж, завести его в окно по внешней стене, предварительную консультацию наши специалисты могут Вам дать по одному из телефонов :
(067) 906-41-41, (066) 757-85-04, (067) 148-41-41 Звоните нам! Мы всегда рады ответить на Ваш звонок.
Это ускорит процесс принятия решения. И мы перезвоним Вам и проконсультируем в самое ближайшее время.




































